Video games have been a huge obsession for many children, young people, and adults over the past decades – being part of their daily lives. The history of video games goes back to somewhen around 1947 when one of the first interactive games, i.e., the “Cathode-ray tube amusement device” was invented. Nevertheless, it has never seen the light of the day because the inventors did not manufacture or offer it for sale. The invention has enabled the use of a cathode-ray tube in a game, disclosing how to hit targets on the screen by manipulating buttons.
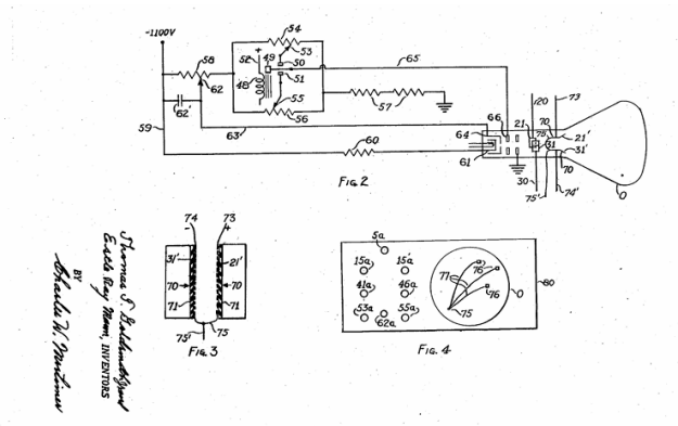
Source: Figures 2, 3 and 4 of US 2,455,992 patent.
The above figure shows the cathode-ray tube, the appropriate controls to be used in the invention and other elements. This invention was filed with the United Stated Patent and Trademark Office (USPTO) on January 25, 1947, the application was allowed, and the patent was granted on December 14, 1948 (US 2,455,992).
On May 03, 2024, Brazil’s current president sanctioned Law N° 14.852, thus creating the legal framework for the electronic games industry. In view of this, an extremely important principle and guideline established by the law in question that should be recited is that:
“Art. 6º: The principles and guidelines of this Law are: […] II – promoting innovative entrepreneurship as a means of promoting the productivity and competitiveness of the Brazilian economy and generating new jobs […]” (emphasis added).
Thus, according to the item II of Art. 6° of Law N° 14.852, the Brazilian government will encourage innovative business, in which the BR government will promote a favorable environment for investments in this area of the industry in Brazil. Moreover, it is highly relevant to point out that, along with this favorable scenario, said new Law establishes other requirements and benefits.
However, the official approval of the new legal framework for electronic games is a very recent decision by the Brazilian government, any developments should be closely monitored and studied with the aim of predicting how this scenario will unfold for parties involved in the electronic games industry and how Intellectual Property will be able to provide the best insights and strategies for those involved to stand out in the Brazilian market.
Furthermore, it is of major importance that awareness of how electronic games have been protected by patents should be raised and discussed because there are still some people in this industry who are unaware of IP matters and their relevance in this regard.
Technologies have evolved over time and big companies in the market have understood that protecting their inventions using the patent system is a game changer and a key strategy to conquer in this field.
For example, companies like: (i) Nintendo Co., Ltd., Kyoto; (ii) GAME FREAK Inc., Tokyo; and (iii) Creatures, Inc., Tokyo, saw the chance to solve a technical problem faced by games at the time by improving a game process with property data provided to characters such as monsters appearing therein.
Particularly, as disclosed in the US 6,595,858 B1 patent held by these companies at that time, players would lose interest in the “pocket monsters” game if they were only allowed to exchange monsters between players. Moreover, for a player, if his character in the game is wandering around and, suddenly, an opponent appears wanting to battle him. What should he do? He should have at least leveled up his Butterfree enough to beat the opponent’s Venusaur – at least this is the scenario that figures nineteen and twenty of patent US 6,595,858 B1 depict.
Source: Figures 19 and 20 of US 6,595,858 B1 patent.
In this regard, these three companies provided a solution to the problem faced by introducing “virus infections” into the game – which aimed to deal with the lack of fun caused by players being able to merely be trading pocket monsters (“pokémons”) without other features – thereby changing, enhancing, and surprising the players with a new gaming experience in many ways.
As an example, the algorithm, as disclosed and claimed in a patentable manner by the USPTO, would allow virus-infected “pokémons” to be lent to other players with whom the main players were interacting, so that the other players’ “pokémons” could also be infected – at first glance, it seems strange, but the ones with the “viruses” were superior to the uninfected ones. The above “pokémons’s” example is just one of the many ways in which inventions can benefit from the patent system working in favor of applicants to exclude third parties from exploiting the patent owner’s patented processes, equipment, apparatuses etc.
A further example of a remarkably successful video game is Nintendo’s “Zelda”. More specifically, “The Legend of Zelda: Tears of the Kingdom”, which has groundbreaking mechanisms – such as “Link's Ultrahand and Fuse abilities”. In particular, pending application JP2023103274A appears to describe a form of mechanism that restricts the character from moving an object that Link is already on top of it by means of the “Link's Ultrahand” (which is not confirmed, but was filed by Nintendo Co and its specification mentions a website of another Zelda game as prior art).
Source: Figure 15 of patent application JP2023103274A.
Furthermore, considering that a game does not run on its own, which may include a console along with other devices, companies can seek protection for these sorts of products as well. An example of a company that uses the IP system in Brazil in this field, seeking protection for the physical device, is Sony. The company filed pending application BR102021006109-0 A2 which relates to an input device used to control games.
Source: Figure 1A of patent application BR102021006109-0 A2.
Additionally, it is necessary to know how to seek the correct form of protection before the Brazilian Patent and Trademark Office (BPTO) in order to succeed, considering the provisions of BPTO’s Ordinance Nº 411/2020, which establishes the guidelines for examination of patent applications involving computer-implemented inventions (CII).
In view of the aforementioned, the reason for filing patent applications in Brazil is because the IP system in the country is likely to be a rising market from now on in the electronic gaming industry, attracting foreign players from the gaming industry and investors, which will probably result in attractive assets for different clients around the globe.
Finally, in case a possible invention in this field does not meet the patentability requirements and/or BPTO’s Ordinance Nº 411/2020, which is the BPTO’s interpretation of Article 10 of the BR IP Law, there are also other great possibilities, such as: (i) applying for software registrations; (ii) applying for industrial designs registrations; (iii) and/or applying for trademark registration to those related unregistered trademarks.
