For the fifty years between 1940 and 1990, The St. Louis Post Dispatch had a section in its comics pages titled “Our Own Oddities” that featured unusual things from around the St. Louis metropolitan area.
Patent law has its own assortment of wonderful “oddities,” and, while they may not be as astounding as a Nixon-shaped potato, they are nonetheless cataloged below.
The First Patent
The first patent, as most patent attorneys know, was issued to Samuel Hopkins on July 31, 1790, on a method of making potash and pearlash. The official U.S. Patent No. 1, however, was issued to J. Ruggles on July 13, 1836, when it finally occurred to someone in the Patent Office to start numbering these things. Approximately 10,000 unnumbered patents, often call the X-series of patents, were issued prior to U.S. Patent No. 1.
First Patent to a Female Inventor
The first patent to issue to a female inventor is believed to be one of the aforementioned X-series patents, No. 1041X on Weaving Straw with Silk Thread, issued to Mary Kies on May 5, 1809.
First Patent to an African-American Inventor
The first patent to issue to an African-American inventor is also believed to be one of the aforementioned X-series patents, No. 3306X on Dry Scouring of Clothes, issued to Thomas L. Jennings on March 3, 1821.
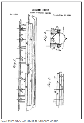
Only Patent to a President
The only patent issued to a U.S. President is U.S. Patent No. 6,469 on a Manner of Bouying Vessels, issued to Abraham Lincoln on May 22, 1849.
Shortest Patent Claim
The scope of a patent is defined by its claims, and there are a number of two-word patent claims. Glenn Seaborg’s U.S. Patent No. 3,156,523, issued November 10, 1964, for examples, claims: “1. Element 95;” and his U.S. Patent No. 3,164,462, issued December 15, 1964, claims “1. Element 96.”
There are in fact several patents with a one-word claim, however, including Lloyd H. Conover’s U.S. Patent No. 2,699,054, issued January 11, 1955, whose claim 2 simply recites “Tetracycline.” For another example, check out claims 12-19 of U.S. Patent No. 3,775,489.
Longest Patent Claim
Among the longest patent claims, there is one in U.S. Patent No. 6,953,802 that contains more than 17,000 words spanning column 59, line 27, to column 101, line 30.
Most Claims in an Application
The record for most claims in an application is US Published Application No. 20030173072 for Forming Openings in a Hydrocarbon Containing Formation Using Magnetic Tracking. As published, it contained 8,958 claims, and later issued as U.S. Patent No. 6,991,045 with a more modest but still impressive 90 claims.
Most Claims in a Patent
The record for most claims in a patent belongs to U.S. Patent No. 6,684,189, Apparatus and Method Using Front-end Network Gateways and Search Criteria for Efficient Quoting at a Remote Location, with 887 claims.
Runners up are U.S. Patent No. 5,095,054 with just 868 claims, and U.S. Patent No. 7,096,160 with a paltry 803 claims.
Longest Patent Application
The longest patent application is U.S. Patent Application No. US20070224201A1 for Compositions and Methods for the Diagnosis and Treatment of Tumor. It has 7,154 pages.
Longest Patent
The longest patent is U.S. Patent No. 6,314,440 for Pseudo Random Number Generator, with 3,333 pages, (3,272 of which are drawings). Slightly shorter, but much wordier, is U.S. Patent No. 5,146,591, with more than one million words on 3,071 pages.
Shortest Patent
U.S. Patent No. 5,081,154 for Metroprolol Succinate is a half of a page long (about 70 lines).

Most Drawings in an Application
U.S. Patent Application No. 20070224201A1 has 6,881 pages of drawings.
Shortest Patent Term
U.S. Patent Nos. 6,211,625; 6,211,619; 6,198,228; 6,144,445; 7,604,811 (and others) had a term of “0” — each expired before it issued!
Longest Patent Term
U.S. Patent No. 6,436,135, was filed in 1974 and issued in 2002, and thus won’t expire until this year (2019) — 45 years after it was filed.
Most Co-Inventors
U.S. Patent Nos. 7,013,469 and 7,017,162 have 51 co-inventors.
Strangest Patent Number
The U.S. has issued several “fractional” patents, including U.S. Patent No. 126 ½ on February 11, 1837, and U.S. Patent No. 3,262,124 ½ on July 19, 1966.
Most Popular
U.S. Patent No. 4,723,129 has been cited in 2,372 subsequent patents.
Most Prior Art
U.S. Patent No. 9.535,563 cites 7,800 references, and U.S. Patent No. 8,612,159 cites 3,594 items of prior art on 32 pages.
Largest Patent Family
U.S. Patent No. 5,095,054 has 380 family members.
Longest Inventor Name
U.S. Patent No. 7,531,342 names Osterhaus Albertus Dominicus Marcellinus Erasmus — with 44 characters in his name — as inventor.
Most Enigmatic Title
U.S. Patent Application 20020174863 is entitled “Unknown.”
Simplest Drawing
U.S. Patent No. 448,647 issued March 24, 1891 on a Tooth Pick.
