The fight for global dominance in the manufacture and marketing of running shoes, popularly known as “the Battle of the Supershoe”, took at interesting turn at the 2023 Berlin Marathon.
The Battle of the Supershoe started when Nike introduced new shoe technology in 2016 with the Vaporfly 4% shoe, promoted as proven to improve running efficiency by approximately 4%. Nike’s innovation, marketing and associated market dominance continued to gain momentum. Between 2016 and 2019, Nike built on their supershoe innovations, with the Next % and the AlphaFly models, both of which promised to achieve greater than 4% improvement to running efficiency.
Nike’s claims relating to their supershoe innovations were supported by independent research. Patents were filed in multiple jurisdictions to protect intellectual property rights in these innovations. In races around the world, Nike supershoes quickly became the overwhelming shoe of choice by competitive athletes.
The proven performance improvements arising from use of the Nike supershoes soon created regulatory attention. The world governing body for track and field, World Athletics, responding by implementing new regulations to governing the use of supershoes in official competitions.
Not surprisingly, Nike’s market share for the sale of shoes in the sporting footwear market, particularly for road racing shoes, immediately soared. From 2016 to 2020, it was common for runners on the front line of a road running race to almost exclusively be wearing Nike. Even elite athletes sponsored by other companies were sometimes known to wear Nike supershoes with the Nike branding removed.
The tide in the Battle of the Supershoe race may have turned at the 2023 Berlin Marathon. Wearing a pair of latest adidas road racing shoe, the Adizero Adios Pro Eva 1, Ethiopia’s Tigist Assefa became the first woman to run under 2 hours 14 minutes, and under 2.13, and under 2.12, by recording a marathon time of 2 hours 11 minutes and 53 seconds.
This performance immediately had commentators speculating as to how a well-established world record could be broken by such a large margin. Attention immediately turned to the 138 gram Adizero Adios Pro Eva 1, which is promoted as having re-positioned carbon rods, with a price tag approximately twice that of footwear manufacturing competitors.
In considering whether shoe technology may be responsible for such a significant improvement in the women’s world marathon record, in this article, we look at the
- intellectual property used and protected by Nike in their supershoes
- intellectual property now used by adidas in their supershoes
- World Athletics rules governing shoe use in competitions.
What intellectual property rights may subsist in “supershoes”?
Intellectual property, or “IP”, is fundamental to maximise the commercial opportunities presented to sporting goods manufacturers. Innovation used by sporting goods manufacturers is an excellent example of this. The legal protection given by IP rights helps to maximise the economic value of these manufacturers investing in technology and innovation. These IP rights could potentially be one or more of patents (which protect inventions), trade marks (which protect brands) and designs (which protect visually distinctive features of a product).
Patents potentially provide sporting goods manufacturers with protection of their novel and inventive sporting equipment, such as supershoes. Patent protection sought by Nike and adidas for their supershoes is detailed further below.
Recently, a World Intellectual Property Day was focussed on IP in sports. In highlighting the importance of trade marks in sports marketing and sponsorship, the World Intellectual Property Organisation (WIPO) said
‘Sports sponsorship deals are underpinned by trade mark rights and can be extremely lucrative. Recognizing its global appeal and power as a marketing platform, companies in many sectors are turning to sports to build awareness of their products among consumers, drive sales and stand out in a crowded and highly competitive market.’
‘Many sports organizations also use their trademark and other IP rights to leverage the value of their brand by licensing them to third parties to produce merchandize, including apparel, accessories, footwear and more.’
IP plays a significant role in building the value of brands such as Nike, adidas, ASICS, New Balance, ON, Puma, Saucony, and other “players” in the global sports footwear race.
IP in the Nike Supershoes
In 2019, the Olympic Marathon Champion, Eliud Kipchoge from Kenya, became the first athlete to run a marathon in under two hours. This time is not ratified by World Athletics as the world marathon record (more on that below). Kipchoge holds the official ratified world marathon record at 2 hours, one minute and 9 seconds.
In his sub 2 hour marathon race, Kipchoge was aided by a novel Nike supershoe which, at the time, was a prototype developed only for Kipchoge. This shoe was a customised version of Nike running shoe which Nike name the Nike Air Zoom Alphafly NEXT%, or “Alphafly” for short.
In addition to registering patents for the Alphafly, Nike filed a range of international trade marks to protect the Alphafly brand. In Australia, the Alphafly trade mark has been registered to Nike since 12 Aug 2020.

Eliud Kipchoge holding the famous Alphafly shoes
With a high level of brand loyalty, goodwill and continuous inventions, there is no doubt that IP play a vital role in protecting Nike’s inventions.
A running shoe like the one worn by Kipchoge could be protected by several IP rights. Patents can protect the technology used to develop the shoe. Designs can protect the look of the shoe, trade marks can protect the brand and copyright will protecting any artwork or other artistic creations used in marketing of the shoe.
Nike has protected the technology of their supershoe technology by filing several patent applications in many countries, including Australia. For example, Nike’s US applications (with equivalent family members in other countries) US20180213886 and US 2019365034 are aimed at covering most aspects of the Kipchoge’s shoe. The relevant patent drawings outline a cushioning apparatus that includes a segmented sole and up to four fluid-filled chambers.

The front of the shoe is a sandwich of three carbon-fibre plates and foam, and there are two pairs of fluid filled chambers beneath the ball of the foot and either side of the second, or middle, carbon-fibre plate. The first, or top plate, extends the full length of the shoe, the second, or middle plate, extends to the rear of the midsole, and the third, or bottom plate, extends to beneath the ball of the foot to hold in place the fluid filled chambers.
Nike subsequently amended their supershoe technology to limit it to a single carbon-fibre plate to comply with World Athletics shoe regulations.
IP in the adidas Supershoes
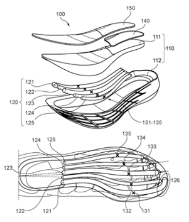
The adidas Adizero Adios Pro Evo 1 uses a new foam midsole with carbon rods inside that are designed to propel the runner forward. Just like the Nike supershoes, the IP surrounding the adidas supershoes are covered by multiple patents, trade marks and designs around the world. One such patent adidas have recently filed is US 20220378147A1 with corresponding applications in several other counties.
This application is directed at a sole for a shoe comprising at least two reinforcing members extending at least in a front half of the sole, and at least two blade members extending at least in the front half of the sole. The reinforcing members define a first layer within the sole, and the blade members define a second layer in the sole, wherein the first layer and the second layer are at least partially displaced from one another in a vertical direction. The reinforcing members can comprise carbon fibres, a carbon fibre composite material, and/or a glass fibre composite material, as depicted below.

The 2023 Berlin Marathon was the first time the adidas Adizero Adios Pro Evo 1 was used in competition. It can be assumed that the adidas lawyers carefully considered and complied with the World Athletics shoe regulations to ensure that an athlete breaking a world record in their new supershoe would have the record ratified.
World Athletics shoe regulations
A world record for the marathon will not be ratified unless the performance and associated equipment are compliant with all relevant World Athletics Rules and Regulations.
World Athletics Competition Rule 31.1 provides that:
A World Record shall be made in a bona fide competition which has been duly arranged, advertised and authorised…and which has been conducted under and in compliance with the Rules
Eliud Kipchoge’s sub 2 hour marathon performance was in a special purpose event, rather than a bona fide competition organised and conducted in accordance with the World Athletics Competition Rules.
After Kipchoge’s historical run, World Athletics realised that technology was becoming an increasingly relevant element in a performance. This resulted in debate as to whether “supershoes” should be accepted, banned or regulated. World Athletics engaged in a consultation process which resulted in the formulation and implementation of the Athletic Shoe Regulations (which were implemented into the World Athletics Competition Rules as book C2.1A) (“the Shoe Regulations”).
The Shoe Regulations are expressed to seek balance in respect to a number of principles, including:
- fairness within the sport of Athletics;
- measures that support health & safety (including injury prevention) of Athletes upon whom high levels of physical and mental demands are placed;
- performances (including records) in Athletics are achieved through the primacy of human endeavour over technology in Athletic Shoes and advances in the same (e.g. to allow for meaningful competition); and
- acknowledging that Athletes wish to compete in 'high quality', 'innovative' and ‘leading’ Athletic Shoes.
The primacy of human endeavour over technology element has been debated by many commentators, with supershoes clearly assisting in performance improvements.
Relevant to the adidas Adizero Adios Pro Evo 1 worn by Tigist Assefa to break the women’s world marathon record in the 2023 Berlin Marathon, to comply with the Shoe Regulations, the adidas Adizero Adios Pro Evo 1 must satisfy a number of elements including:
- the sole on the shoes must be no thicker than 40mm;
- the shoe must not contain more than one rigid structure, such as an embedded carbon fibre plate (per Shoe Regulation 10.6.1);
- Shoe Regulation 10.6.2 clarifies that the one rigid structure referred to in Shoe Regulation 10.6.1 may be in more than one part, but those parts must be located in one plane (i.e. must not be stacked above each other and must not overlap);
- the shoe must not contain any embedded ‘sensing or intelligent’ technology [the Adizero Adios Pro Evo 1 has no embedded technology]
- unless approved as a development shoe, and complying with rules and approvals relating to development shoes, the shoe must be available for purchase by competitors in the competition (and have been available for purchase for at least one month, unless a different timeframe was approved by the World Athletics CEO or his nominee).
The authors could only find evidence of the adidas Adizero Adios Pro Evo 1 becoming available for purchase on 14 September 2023, so it is likely adidas sought the approval of the World Athletics CEO or his nominee to vary the abovementioned timeframe.
Of greater interest to the authors is whether the adidas Adizero Adios Pro Evo 1 carbon rods overlap. The adidas patent application refers to the first layer and the second layer being at least partially displaced from one another in a vertical direction.
Shoe Regulation 10.6.2 requires the layers be located in one plane and not stacked. The reference to vertical direction in the adidas supershoe patent presumably results in carbon rod movement within the midsole, but with no stacking. This may just be the innovative difference between the adidas Adizero Adios Pro Evo 1 and other supershoes, namely the movement of carbon in the midsole being in a vertical direction rather than a horizontal carbon plate.
Conclusion
The Shoe Regulations refer to primacy of human endeavour over technology. If the adidas Adizero Adios Pro Evo 1 midsole carbon rod movement in a vertical direction is sufficiently innovative that it leads to performance improvements resulting in “primacy of technology over human endeavour”, it may initiate a re-think and re-drafting of the Shoe Regulations.
Nike coined the phrase which is well known to runners that “there is no finish line”. The authors suspect that now the Battle of the Supershoe is in full swing, there will be no finish line. How the rules and regulations, including the Shoe Regulations, keep pace with technology may help keep the finish line in sight.
